作者:李記有 郭勇平
新形勢下,船員用工行業呈現多樣化發展趨勢。船員靈活用工這一新型用工模式的出現,對于稅務實踐問題,提出了全新的挑戰。因此,在稅務實踐中,對船員靈活用工業務的場景和邏輯進行有效的梳理和判斷具有重要的現實意義和理論價值。
船員用工模式現狀分析
一直以來,船員職業勞動合同的用工模式因航運業本身的特點,未被很好地執行,不簽勞動合同和不真實簽署勞動合同的情況是行業的普遍現象,船員用工問題存在重大的社會隱患和稅務風險。在新形勢下,基于平臺經濟的靈活用工模式由于政策驅動和行業適配性高,正在航運用工中逐漸興起。
(一)船員用工模式的現狀
1. 航運企業與船員簽訂勞動合同,成立勞動關系。根據我國《勞動法》和《勞動合同法》的相關規定,此種用工模式具有以下特征:其一,勞動關系具有長期性和穩定性;其二,船員需嚴格遵守企業的各項管理制度和勞動紀律;其三,航運企業須履行包括繳納社會保險、個人所得稅代扣代繳在內的法定責任。
然而,航運業具有顯著的靈活用工的特性。
首先,航運業務主要以短周期運輸為常態。同一船舶有不同的航次任務,不同航次任務的貨物品類、貨物來源、停靠泊碼頭等要素是持續變化的。因此,船員的用工需求隨著不同航次的要素變化也是不同的,且按照海事規定,船員在船時間通常不超過8~10個月。因此,船員在各地方、各企業、各船舶之間頻繁流動是普遍現象,船員職業具有高流動性。這種行業特性客觀上需要建立彈性化的船員用工機制,而現行《勞動合同法》框架下的標準化勞動關系與航運業的動態用工需求存在適配性障礙。這種制度性障礙使企業面臨人力資源配置效率低下與用工成本高的雙重壓力。這已成為打破航運業傳統人力資源管理體系優化的重要瓶頸。
2. 傳統船員用工模式下,船員用工合規性風險較大。
船員在不同船企間頻繁輪轉工作已成為船員用工的常態,船企為降低成本,招募船員而不簽署勞動合同的現象普遍存在,由此衍生出了一系列隱性用工風險及稅務合規問題。
一方面,船企因未簽勞動合同、未繳納社保面臨勞動糾紛風險,船員無法獲得足夠的勞動保障。另一方面,航運企業薪酬發放模式混亂,未嚴格履行個稅代扣代繳義務,船員缺乏納稅意識,進一步加劇了稅務稽查風險。更為嚴峻的是,部分企業為謀取不當利益,涉嫌虛開發票、虛構個體工商戶等非法手段逃避稅收監管。此類行為涉嫌偷逃稅款,不僅可能面臨補稅、滯納金及行政處罰,甚至可能觸犯《刑法》承擔刑事責任。
(二)船員靈活用工模式興起原因
1. 政策驅動。
根據國家及地方近年發布的政策文件,我國對靈活就業、靈活用工模式從多方面做出了鼓勵與規范。
一方面,放寬了靈活就業的準入與形式,明確要求“取消對靈活就業的不合理限制”,允許靈活就業者以個體工商戶、個人承攬、自由職業者等身份參與市場活動,無需強制簽訂勞動合同。例如,國務院辦公廳《關于支持多渠道靈活就業的意見》提出,支持新業態勞動者通過互聯網平臺實現就業,打破傳統勞動關系束縛。
另一方面,優化靈活就業社保政策。如放開靈活就業人員的參保戶籍限制、對高校畢業生等特定群體提供參保支持等。
再一方面,對靈活就業相關企業和人員提供稅收優惠政策。如小微企業和個體工商戶可享受增值稅起征點政策及所得稅核定征收優惠;企業通過合規平臺取得增值稅專用發票,可進行進項抵扣。
隨著靈活用工模式的發展,各地方對《勞動合同法》《稅收征管法》在靈活用工的適用也在逐步完善,靈活用工稅務規則逐步健全。
2. 靈活用工模式與航運業用工現狀適配性高。
航運行業的用工特點決定了船員職業跨區域、短周期的工作性質,與靈活用工模式天然契合。首先,船員用工周期與靈活用工的彈性需求相匹配。如前所述,船運業用工流動性頻繁,而靈活用工模式允許企業根據業務情況動態調整船員數量,支持了船員在不同船舶、航線間靈活切換,滿足了船員對多樣化工作機會的需求。其次,靈活用工平臺為船員提供合規的納稅通道,避免了傳統模式下船員因不簽署勞動合同而導致損失。因此,個人承攬、個體工商戶、代辦申報等靈活用工形式符合航運用工的現實生態。
船員用工模式的稅法分類
(一)航運企業或船員派遣機構與船員簽署勞動合同
從法律關系上看,航運企業或船員派遣機構(以下統稱“船企/企業”)與船員之間是勞動關系,主要受《勞動法》《勞動合同法》調整。在稅務和社保方面,船企為船員代繳代扣個稅,并為船員依法繳納社保。
(二)船企與船員簽署中短期的勞務合同
從法律關系上看,船企與船員之間是勞務關系,屬于民事法律關系,二者之間是平等的,受《民法典》調整。在稅務方面,根據法律規定,勞務人員可以自己開發票,繳納個稅,如勞務人員不開發票的,企業應當為其代扣代繳個稅。在社保方面,船企與船員之間是平等的勞務關系(民事關系),無需為船員繳納社保,船企可以以船員名義代為繳納,或船員自行繳納。
(三)船員注冊成個體工商戶承攬業務
船員與具有集中注冊個體工商戶資質的園區公司簽署協議登記注冊成為個體工商戶,個體工商戶船員通過具有人力資源服務資質的園區公司承攬船企發布的工作任務,屬于服務承攬的法律關系。
這一模式中,船員在平臺上承攬船企工作任務,交付工作成果,各方之間是承攬關系,受民法典的調整。在稅務方面,需實際業務真實發生,方可開具與實際業務相符合的發票,才符合稅收管理要求。
在社保方面,因各方之間是平等的民事關系,所以船企無需為船員繳納社保,而船員屬于靈活就業人員,根據法律規定可以由企業以船員名義代為繳納或自行繳納社會保險,體現了船員是否上社保及在哪里上社保的自由選擇權。
這種模式下,船企因獲取增值稅專用發票用于抵扣稅款而降低了經營成本,船員也因為享受個體工商戶的稅收減免政策而提高了個人收入,確保了船員繳納社保的渠道與自由選擇權。
(四)代辦申報模式
2025年6月27日,國家稅務總局出臺了《關于互聯網平臺企業為平臺內從業人員辦理扣繳申報、代辦申報若干事項的公告》(國家稅務總局公告2025年第16號),該公告以列舉法的形式,將從業人員自互聯網平臺企業取得的勞務報酬的業態進行了明確,包括:通過互聯網平臺提供直播、教育、醫療、配送、家政、家教、旅行、咨詢、培訓、經紀、設計、演出、廣告、翻譯、代理、推廣、技術服務等營利性服務取得的所得。同時明確了未取得經營主體登記證照的平臺內的經營者和從業人員包括,通過互聯網平臺銷售貨物、提供運輸服務取得的所得,屬于經營所得。
依據上述規定,若船員屬于提供運輸服務取得的所得,則屬于經營所得,應按照未取得經營主體登記證照的平臺內的經營者扣繳申報。若船員屬于自互聯網平臺企業取得的勞務報酬所得,則其應直接按照勞務報酬扣繳申報。
但無論船員是按照經營所得扣繳申報還是勞務報酬扣繳申報,其在靈活用工模式的運營過程中,都必須以實際發生的業務為前提。因此,互聯網平臺企業負有提供真實業務實際發生的相關證明和有效證據的義務。這樣才能保證互聯網平臺企業能夠開具與實際業務相符合的發票和/或辦理合法有效的扣繳申報、代辦申報事項。
基于此,互聯網平臺企業是否能夠提供充足的、有效的證明船員真實業務實際發生的舉證能力,是判斷船員是否屬于平臺內經營者或為勞務報酬的關鍵。
在社保方面,因各方之間是平等的民事關系,所以船企無需為船員繳納社保,而船員屬于靈活就業人員,根據法律規定可以由企業以船員名義代為繳納或自行繳納社會保險,體現了船員是否上社保及在哪里上社保的自由選擇權。
“四流合一”在船員靈活用工中的實現
(一) “四流合一”的內涵與要求
“四流合一”在船員靈活用工中,是實現稅務合規與業務真實性的核心要求,具體指的是船員用工的事實在合同流、業務流、資金流、發票流(或代辦申報)必須相互匹配,相互印證,形成完整的閉環,以證明船員用工事實的真實發生。
1. 合同流:明確法律關系與權責劃分
合同流即交易雙方簽訂的真實有效的合同或協議,明確雙方的權利和義務,合同是交易的基礎,也是稅務部門核查的重要依據。
在船員靈活用工模式中,靈活用工平臺企業與船員、船企分別簽訂承攬協議/和或勞務合同,并且根據實際業務提供標準化的合同模板,明確服務內容、報酬標準和權責劃分,并通過區塊鏈技術存證,確保合同簽訂的真實性與不可篡改性。
2. 業務流:確保服務真實性與可追溯性
業務流即業務的實際流轉過程,需與合同流約定的流轉過程一致,與資金流轉相對應。
在船員靈活用工模式中,企業通過靈活用工平臺發布船員需求,包含航線任務、船舶類型、工作時長等信息;互聯網平臺企業將任務匹配至符合相應資質的船員;船員與企業匹配成功后執行任務。平臺需對船員進行實名認證與資質核驗(如船員適任證書),確保業務參與方的合法性與專業性。
任務執行過程中,互聯網平臺企業需通過船舶AIS、GPS定位、電子航海日志、工時記錄等數字化工具留存業務證據,以形成完整的業務閉環。
3. 資金流:閉環支付與透明化管理
資金流即付款方按照合同約定的方式和時間支付款項,收款方應準確記錄收款情況并提供相應的憑證。資金流的透明性和一致性有助于證明交易的合規性。
在船員靈活用工模式中,企業將用工費用支付至平臺賬戶,平臺根據任務完成情況向船員完成支付。支付路徑需通過銀行或第三方支付平臺完成,避免現金交易,確保資金流向可追溯。平臺再根據船員收入性質(經營所得或勞務報酬)代扣代繳個人所得稅,并通過專用賬戶完成稅款劃轉,確保資金流與稅務申報一致。
4. 發票流(或代辦申報):合規開票或合規代辦申報
發票(或代辦申報)是交易的重要憑證,也是稅務部門征稅的重要依據。發票(或代辦申報)的內容應當與合同、業務、資金流相匹配并形成閉合。
在船員靈活用工平臺中,互聯網平臺企業向用工單位開具與實際業務完全匹配的增值稅專用發票(或代辦申報),靈活用工平臺可通過管理系統自動關聯合同編號、任務記錄及支付憑證,確保“一業務一憑證”。
互聯網平臺企業需與國稅總局稅務系統對接,自動生成申報數據并留存備查。同時用工平臺系統需通過“四流合一”SaaS化軟件功能來實現稅務數據實時同步,降低企業稅務稽查風險。
(二)船員規范用工平臺“四流合一”的實踐
在靈活用工市場快速發展的背景下,航運企業在選擇用工平臺時需權衡綜合型平臺與專業型平臺與企業自身的適配性。首先,航運業具有鮮明的職業特色和行業特點,其用工生態具有其他行業所沒有的鮮明特點和獨一性。因此,職業綜合性平臺其廣普性的標準化用工模式無法與航運用工的靈活生態相匹配,無法滿足航運業特有的用工需求,更難以契合國家稅務對航運靈工的監管需求。其主要原因是,普通的綜合型互聯網用工平臺沒有專業的船員用工真實性的舉證能力,其無法提供充足的、有效的、實時的能夠證明船員業務真實發生的數據和證明。
因此,從事船員靈活用工的專業互聯網企業,應能夠結合船舶的日常管理的SAAS化軟件服務系統,并能夠結合船舶自身的AIS定位系統,作到船員用工數據的實時性、可回溯性、可稽查性,從而形成船員作業數據的標準化。這樣既解決了國稅機關對船員用工真實性的要求,同時又有效解決了船員用工中風險泛化問題。這一邏輯可從以下兩個維度展開分析:
1. 綜合性平臺的局限性
(1)行業泛化風險:綜合性平臺業務覆蓋物流、直播等多行業,多行業共用同一套業務邏輯和流程,船員業務的特殊性被忽視。
(2)合規管理薄弱:缺乏船員行業專屬風控體系,難以應對海事、稅務多部門監管。船員用工行業需對接海事、稅務等多部門監管規則,綜合性平臺因缺乏航運垂直領域經驗,可能誤判政策邊界,引發稅務稽查風險。
(3)資源分散與協同不足:多行業運營導致資源傾斜至高流量領域(如外賣配送),而忽視船員等小眾行業需求。易忽視船員用工跨區域稅務登記、船員資質核驗等特殊需求,易導致合規漏洞。例如,多行業混用可能導致平臺難以深度驗證船員業務細節,難以區分船員航行任務與普通物流配送,最后容易因業務流模糊被認定為虛構交易。
2. 專業平臺的優勢
(1)垂直化服務:船員行業具有跨區域流動性強、有專業資質要求(如適任證書)、工作場景特殊(可通過航行軌跡驗證)等特點。專業平臺能夠針對性地設計服務方案。例如,身份確認(通過官方實名認證后簽署的合同與船員證書匹配認證);技術工具(通過AIS/GPS定位、電子航海日志實時記錄業務流,確保“四流合一”中的業務真實性)。
(2)風險預判與應對:專業平臺熟悉船員行業常見風險(如資質造假),可以通過AI風控系統自動篩查異常訂單,例如查詢比對平臺船員證書有效期與任務時間。同時,專業平臺具有航運行業的特殊資質,既可以線下整合船員資源庫(如船員證書資質、特種操作資質等),也可以通過智能算法快速匹配企業需求。
(3)形成四流合一的業務閉環:資金流管理上,平臺要能夠保證資金的透明性,同時能夠確保資金流向與合同及業務數據的一致性。同時,平臺要能夠確保基于真實業務數據向船企開具增值稅專用發票/和(或)為船員進行代辦申報,實現“業務-資金-發票(憑證)-納稅”的數據閉環。
就上述專業平臺所具備的要素,本文將通過“鱘航”軟件用工模塊,選取符合船員用工平臺必要條件的功能,作為樣本數據予以闡述。
Ⅰ.“鱘航”船員用工模塊的船員庫(船員自己登記注冊)是船員用工的數據基礎。(見圖1)

圖1船員數據庫功能(船員用工的數據基礎)
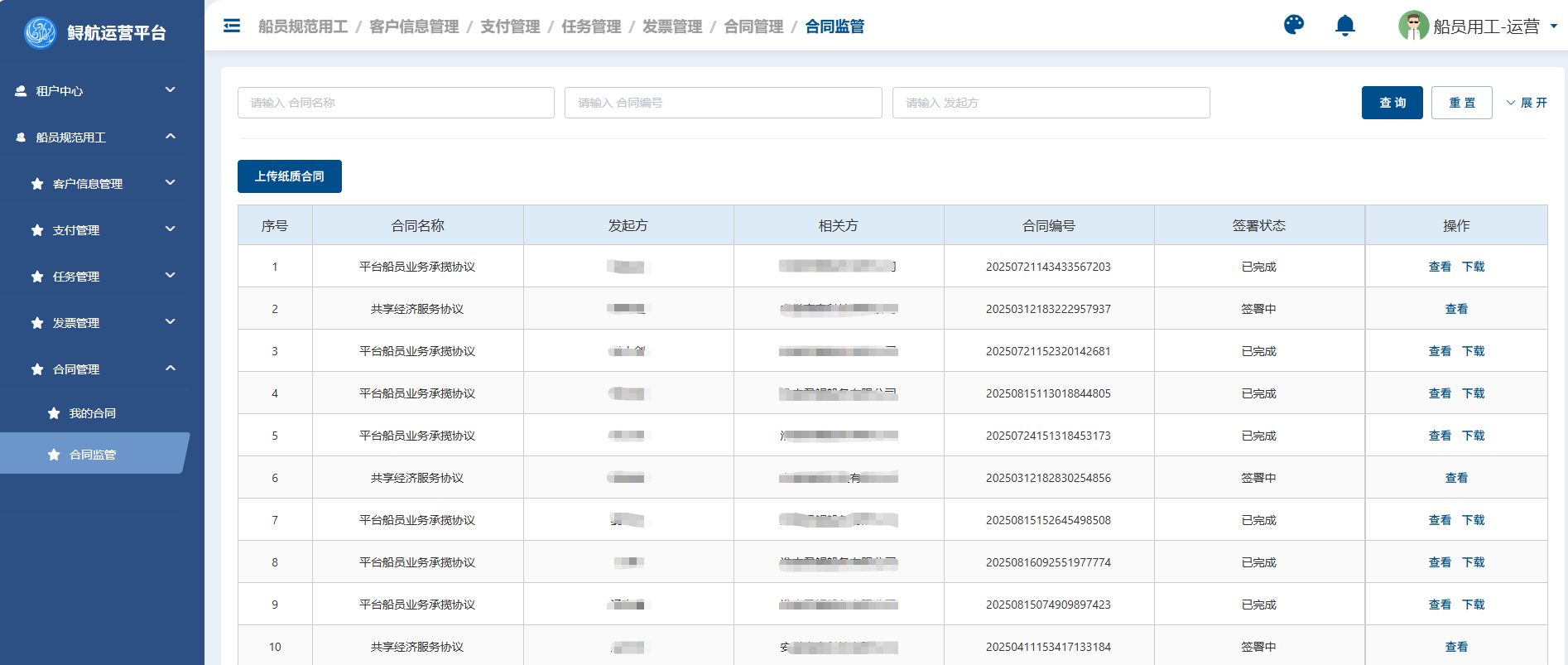
Ⅱ.“鱘航”的船員調配功能將船員與具有用工需求的船企進行業務匹配,船員與“鱘航”平臺方在第三方電子簽約與電子合同云平臺(CA國家認證)簽署合同(承攬服務協議或勞務合同,具體由稅務機關定性)。(見圖2、圖3)

圖2船員調配功能(船員與需求單位進行業務匹配)

圖3簽署合同功能(船員與平臺簽署合同)
Ⅲ.船員上船執行任務,船企接受船員服務,產生用工事實。
Ⅳ.通過AIS船舶定位系統,確定用工船舶的航行狀態和航行期間的用工軌跡,確保船舶運營事實。(見圖4)


圖4船舶定位與航行軌跡(確保船舶實際運營)
Ⅴ.通過船舶使用的“鱘航”AI智能監控模塊(監控并識別船員作業中的危險動作及報警功能)確認船員用工事實。(見圖5)

圖5船舶智能監控功能(確認船員用工事實)
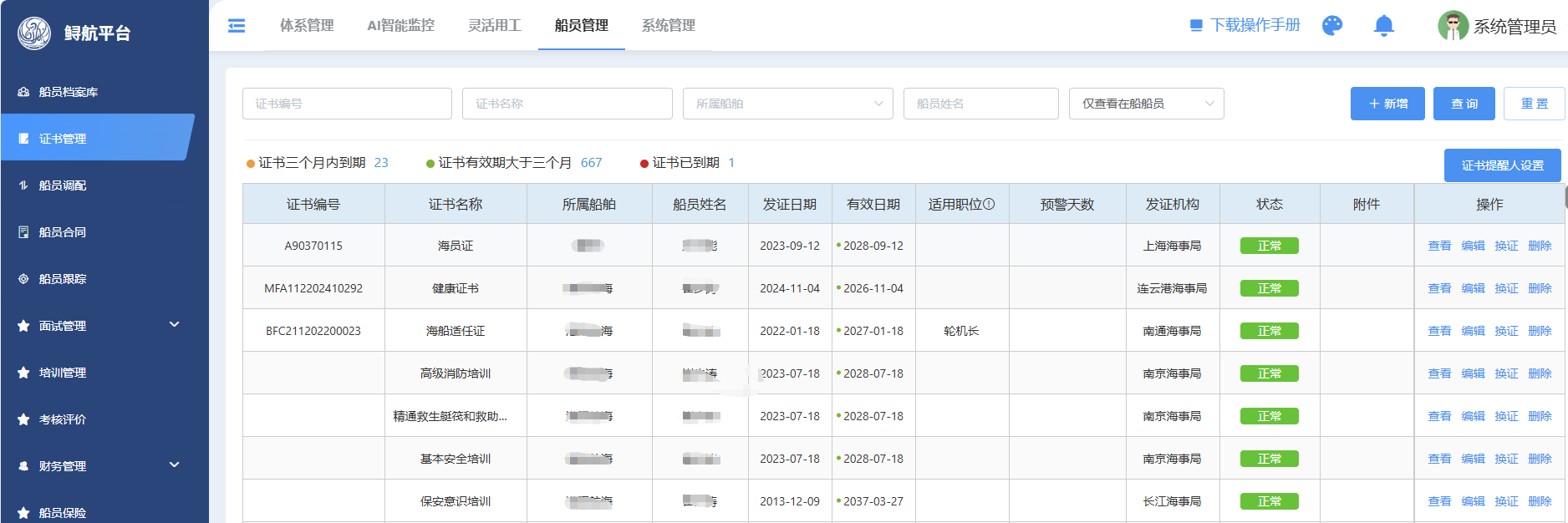
Ⅵ.通過船舶使用“鱘航”船員任務模塊(船員資格證書和所分配任務適格)確保船員資質與工作任務相匹配。(見圖6)

圖6船員任務模塊(確保任務與船員資質相符)
Ⅶ.“鱘航”用工主體具有船員服務資質,具有線下匹配船員的能力,同時通過海事主管部門官網船員資質查詢功能和“鱘航”平臺推薦的船員進行資質比對,在保障船員用工資質真實性的同時精準匹配企業的需求。(見圖7;圖8;圖9)

圖7鱘航平臺主體具有船員服務資質,具有服務船員的專業能力

圖8船員主管部門查詢船員資質功能

圖9船員證書與平臺船員資質認證功能(確保船員資質真實有效)
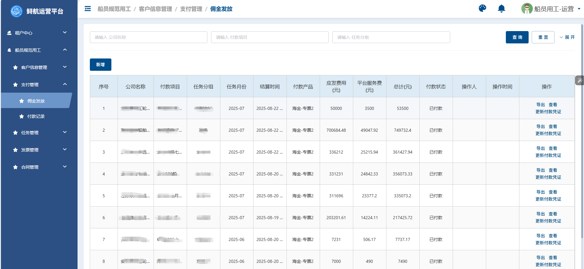
Ⅷ.“鱘航”資金與憑證管理模塊,保證資金透明性的同時確保資金流向與合同及業務數據的一致性。能夠確保基于真實業務數據向船企開具增值稅專用發票/和(或)為船員進行代辦申報,實現“業務-資金-發票(憑證)-納稅”的數據閉環。(見圖10;圖11)

圖10船員費用發放與執行任務相匹配,保障業務與資金流向的一致性

圖11船員代辦申報與資金流向一致
通過對上述樣本數據的分析,在合同流方面,專業的船員用工平臺要采用電子簽約技術,實現船員與用工企業標準化合同的在線簽署及動態存證,確保各方合同的法律效力與可追溯性;
其次,在業務流層面,平臺企業最好是專業的航運互聯網SAAS化服務平臺,日常服務于船企管理,對船企的航運業態、船員用工、船員適任等實際數據能夠有效掌握,能夠與海事主管機關的相關監管數據進行聯動,自動有效地生成船員靈活用工業態的證據鏈條,保障船員用工的真實性。
資金流管理上,平臺要能夠保證資金的透明性,同時能夠確保資金流向與合同及業務數據的一致性。
發票流方面和(或)為船員進行代辦申報,平臺要能夠確保基于真實業務數據向船企開具增值稅專用發票/和(或)為船員進行代辦申報,實現“業務-資金-發票(憑證)-納稅”的數據閉環。
綜上,專業的船員靈工平臺既要滿足稅務、海事等主管部門的監管要求,又能夠有效降低企業虛開發票、私賬支付等合規風險,要能夠通過全流程線上化操作提升船企用工效率。專業的船員靈工平臺不但可以為航運業的靈活用工提供可復制的標準化解決方案,同時也可對類似高流動性職業領域的稅務合規治理提供一定的參考價值。
結語
綜上所述,船員行業因其流動性強、用工周期靈活等特點,靈活用工模式逐漸成為用工主流。然而要想解決其虛開發票、稅務合規的問題,就必須以“四流合一”為核心,依托專業平臺構建證據鏈,以平衡稅負優化與法律風險。未來也可以把區塊鏈技術在“四流合一”中的應用,以實現數據不可篡改與實時共享作為新的探索方向。